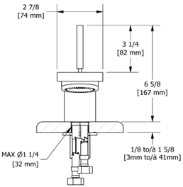
SS : SS01 Dernière mise à jour Save as PDF Vidéos connexes► Guides d'installationGUI-SS01Feuilles de composantesSS01.expFeuilles de spécificationsSS01.spec-R2012SS01.spec-R2020